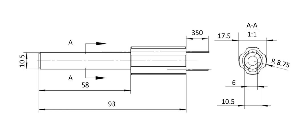
Keraamiline süüteelement

62,00 €
Hind koos käibemaksuga 62,00 €
Hind ilma käibemaksuta 50,00 €
Keraamiline süütepulk 170-200 W, Kipi, Venma, BurnPell, Pellas, Eco-Palnik, Ariterm, NBE, Pelltech jne.